在线教学案例——超星平台(学习通)+QQ群
林业工程学院 刘真华
建议老师如果在超星平台上网课的话,最好使用PC端和手机端相结合,因为PC端没法给学生发送签到。我一般采用在PC端进行资源课程学习和学生学习状态跟踪,在手机端的课程QQ群里及时和同学沟通,引导和督促学生学习,解决他们的疑难问题,这样更方便有效的进行教学和答疑。
下面介绍我如何使用超星平台和qq群来更好地实现网络教学。
一、QQ群
1.课前通知和签到手势发布
利用qq群的及时沟通功能在课程开课头一天晚上发布上课、复习、预习等提醒,并在上课前在发布签到通知和手势图片,方便同学们在学习通上准时签到。

2.课间沟通和答疑
老师可以在刚上课时,在qq群里发布这节课的学习重点难点,学习要求等信息,让同学们的学习有的放矢,做到心中有数。

对课上所讲内容有疑问的同学可通过qq群提问或发起讨论,老师也可以根据学生的签到、学习、作业、参与讨论等学情等不理想的地方合理引导大家和发出督促通知,对个别签到拖沓和学习不积极的同学还可以单独联系或通知班委单独联系,以确保所有同学都加入学习中来。

3.课下任务布置和课后答疑
课程结束后,对本节课的未尽事宜和课后学习要求利用qq群、qq发布。
对课上所讲内容有疑问的同学,课后可通过qq群向老师提问或单独和老师对话。

二、超星平台(学习通)
1.课前发布通知
打开学习通,点击课程资源里的自己的教学班级,在课程通知里布置学习任务和学习要求,并发布通知(建议至少提前半天进行)。
2.课中了解学生学情
在同学们学习课程资源里的相关内容期间,老师在PC端查看学生签到、学习、作业、参与讨论等学情,方便老师了解学生的学习情况,以便及时提出问题和发出督促通知。

学生签到情况

学生完成作业情况(有3位是督导老师)

学生成绩统计情况

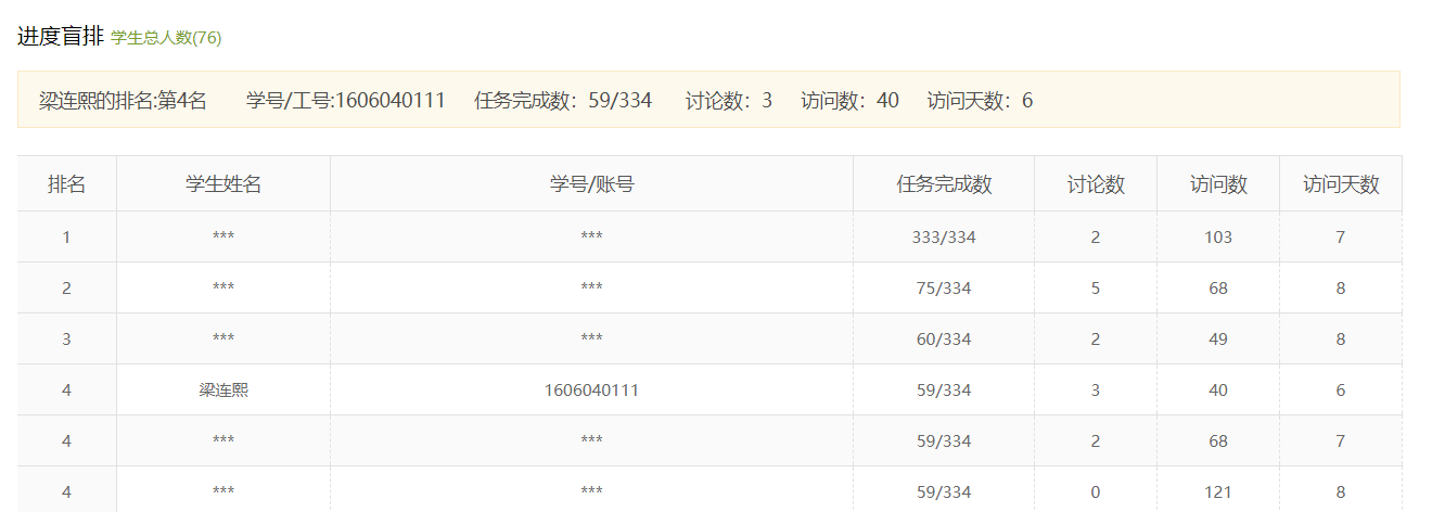
学生学习进度及排名情况
3.课中互动提问
针对课上要安排学生学习的内容,备课时提前出好一些讨论题。在学生学习的过程中,将讨论发布到课程的讨论区里,让学生在讨论区进行讨论;也可以在讨论区对学生的讨论进行评价打分及回复,带动学生的积极性。

三、使用心得
1.用超星平台上课时视频和资源学习基本无卡顿现象。
2.超星平台有PC端和手机端(学习通),方便学生在家学习和老师进行线上课程管理:签到、学情监督、作业批阅,问题讨论、数据统计等功能非常齐全,具有很强的优越性。
3.上课过程中可随时在QQ群里与学生交流沟通,方便快捷。
4.超星平台有数据统计延迟现象,当天学情分析的数据不是很准确。
5.通过两周的线上教学,绝大多数同学们能够积极主动的上网课;老师提出的讨论大家积极参与各抒己见;对于一些不懂的知识点课上课下都积极地请教老师。